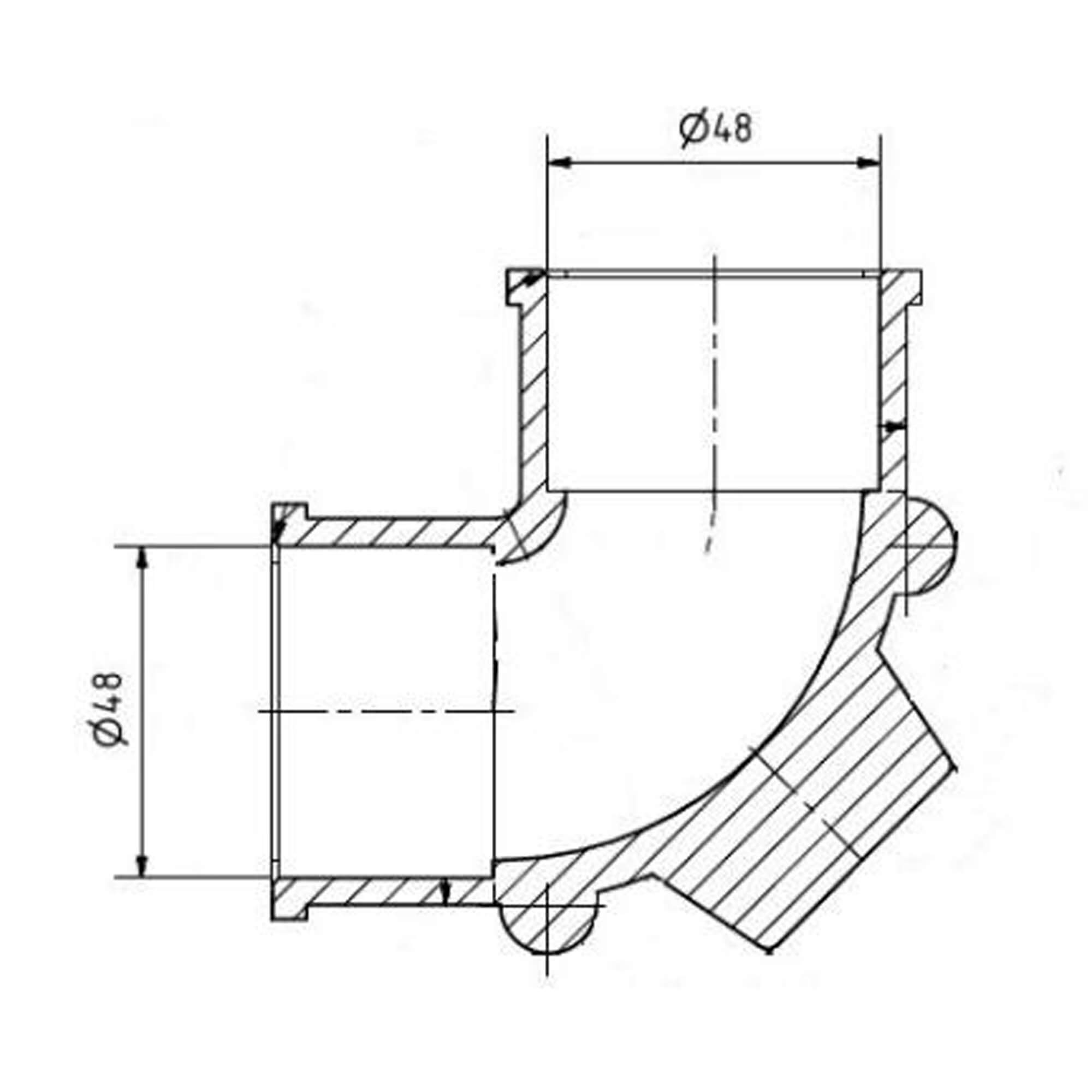
The Roediger Rubber elbow 90° (part no. 329100500) is used in connecting different parts in the vacuum system.
Key features:
- DN 50 pipe diameter
- Designed for use with Roediger vacuum toilet systems
For questions about installation or compatibility, please contact our technical support team.

